Beat365中文官方网站
学校首页
本站首页
信息公开指南
信息公开目录
申请公开
信息公开年报
制度保障
信息公开栏目
基本信息
学校简介
现任领导
发展规划
年度工作要点
学校章程
招生考试
招生简章
招生章程
招生计划
招生录取
财务资产收费
财务管理制度
预决算信息
收费信息
资产管理制度
人事师资
人员招聘信息
教学质量
专业信息
实习实训信息
教学质量报告
学生管理服务
规章制度
信息公示
学风建设
学位学科
对外交流与合作
工作动态
其他
资产管理制度
本站首页
> 信息公开栏目 >
财务资产收费
>
资产管理制度
> 正文
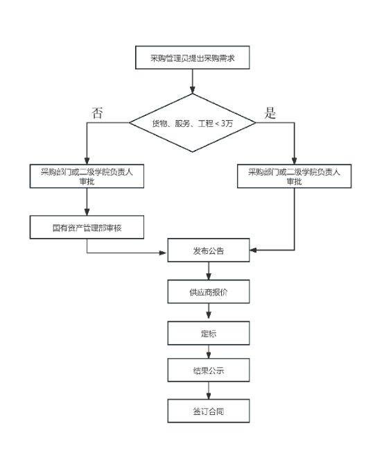
小额竞价平台采购流程
发布时间:2025-04-28
阅读: